Квартирная станция комбинированная без рециркуляции, подключение справа

Описание

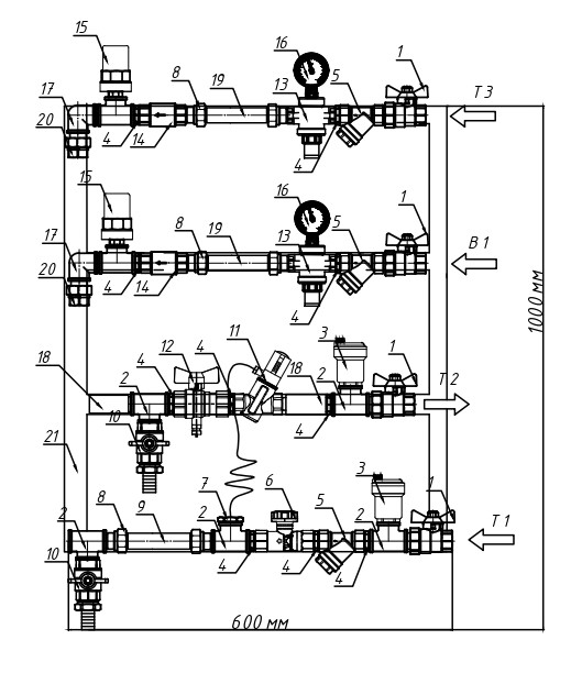
Комбинированная квартирная станция «Пульсар» объединяет в себе возможность подключения квартиры многоэтажного жилого дома к системам отопления, горячего и холодного водоснабжения с учётом потребления воды и тепла.
Станция осуществляет поддержку давления в системе и ограничение расхода теплоносителя с помощью предварительно настраиваемых балансировочных клапанов, что позволяет поддерживать необходимую температуру в квартире. Предоставляет возможность отслеживать давление в системе водоснабжения, защищает от гидроударов, осуществляет очистку воды от механических примесей, автоматически избавляет систему от лишнего воздуха, имеет дренажный кран для проведения монтажный работ.

Параметры
Категория
Водоснабжение и канализация
Категория
Фитинги (фланцы, тройники, коллекторы) и трубопроводы
Материал
Поливинилхлорид ПВХ (PVC)
Материал
Другие модели производителя
Модели других производителей